1patnentdrawings.com Introduce
For innovators and creators in California, the journey from an idea to a protected invention is a meticulous process that requires precision at every step. One of the most critical components of a patent application is the quality of the accompanying drawings. These drawings are not mere illustrations; they are a fundamental part of the legal document, defining the scope and nature of the invention. This is where 1patentdrawings.com steps in as a vital resource for inventors, entrepreneurs, and patent attorneys in Los Angeles and beyond. The firm specializes exclusively in creating professional, high-quality patent drawings that meet the stringent requirements of the United States Patent and Trademark Office (USPTO).
1patentdrawings.com understands that a patent drawing must be both technically accurate and legally sound. Their team is dedicated to translating complex ideas and prototypes into clear, concise, and compliant visual representations. This specialization allows them to focus solely on this niche but essential service, ensuring a level of expertise that general law firms or design studios may not possess. By concentrating on this specific area, they have built a reputation for accuracy, efficiency, and reliability, becoming a trusted partner for those looking to secure their intellectual property rights. The firm's work is designed to streamline the patent application process, helping clients avoid common pitfalls and rejections due to improperly formatted or unclear drawings.
While the business is primarily a service provider rather than a traditional law firm with a roster of attorneys, their work is intrinsically linked to the legal field of intellectual property. The quality of their work directly impacts the success of a patent application. An unclear drawing can lead to an objection from the patent examiner, causing delays or, in the worst-case scenario, the rejection of a claim. Therefore, the services offered by 1patentdrawings.com are an invaluable asset to anyone navigating the patent process. They provide the visual backbone that supports the legal text of a patent, ensuring that the invention is fully and accurately described.
The firm operates with a deep understanding of the USPTO's rules and regulations concerning patent illustrations. This knowledge is crucial for creating drawings that are not only aesthetically pleasing but also fully compliant with legal standards. This includes adherence to specific line thicknesses, shading techniques, and view requirements. By entrusting your patent drawings to 1patentdrawings.com, you are ensuring that a critical part of your patent application is handled by professionals who understand the legal and technical requirements, freeing you to focus on the other important aspects of your invention and legal strategy.
---Location and Accessibility
1patentdrawings.com has a presence in a bustling and innovative hub in Los Angeles, California. The address is 5101 Santa Monica Blvd Ste 8 PMB1337, Los Angeles, CA 90029, USA. This location places the business in a central and easily accessible part of the city, convenient for inventors and law firms located in the greater Los Angeles area. While much of their work can be conducted remotely through digital communication, having a physical location provides a level of legitimacy and local presence that is reassuring to clients. The address, a private mailbox within a larger commercial building, is a common setup for professional services that conduct their business primarily online or through mail, offering a secure and professional mailing address. For clients who prefer to handle communications in person, this central location is a great option. It’s situated in a dynamic part of Los Angeles, surrounded by various other businesses and services, making it a convenient destination for appointments.
---Services Offered
1patentdrawings.com is a highly specialized service provider focusing on the creation of professional patent drawings. Their services are crucial for ensuring that a patent application is complete, accurate, and compliant with all legal standards. Key services include:
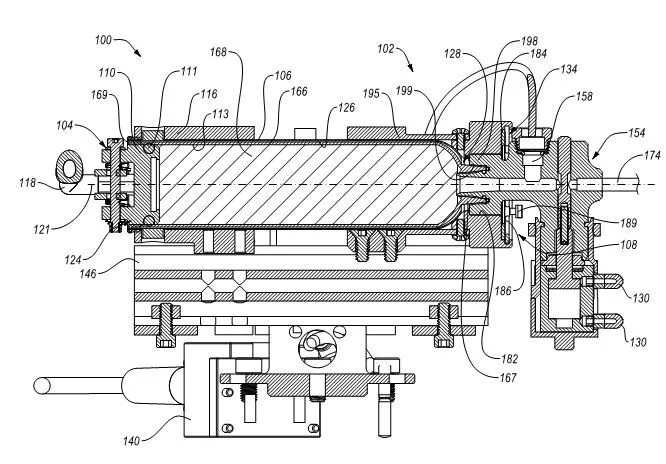
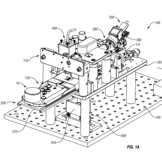
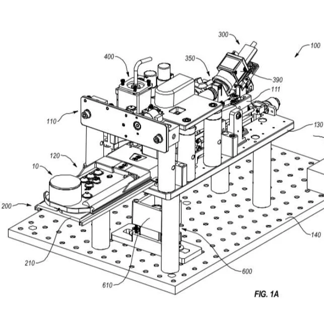
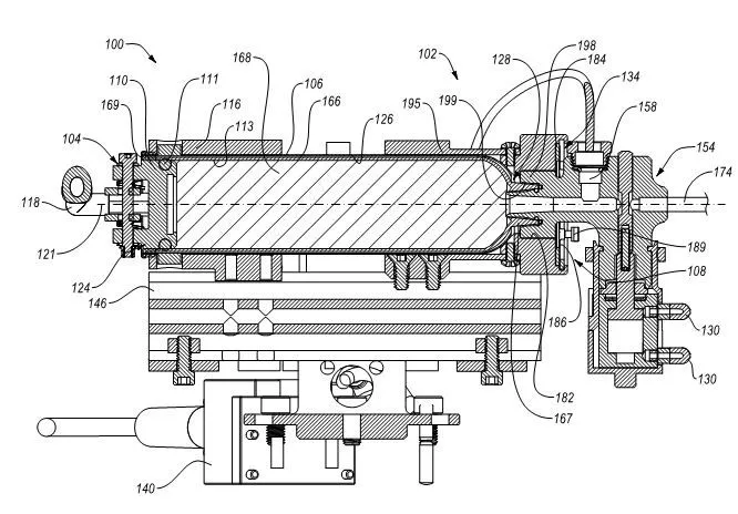
- Utility Patent Drawings: These drawings are required for patents that cover the function or "utility" of an invention. 1patentdrawings.com creates detailed technical illustrations, including multiple views and reference numbers, to clearly describe how the invention works.
- Design Patent Drawings: These are illustrations for patents that protect the ornamental design of an object. The firm creates aesthetic and highly detailed drawings that highlight the unique visual features of the design, which are essential for securing a design patent.
- Provisional Patent Drawings: While provisional patent applications have more relaxed rules, clear drawings are still vital for describing the invention. 1patentdrawings.com creates preliminary drawings that can be used to establish an early filing date and provide a solid foundation for the subsequent non-provisional application.
- Illustrations from Various Media: The firm can create patent drawings from a variety of sources, including photographs, sketches, CAD files, and physical prototypes. This flexibility ensures that they can work with any inventor, regardless of the current state of their invention.
- Ready-to-File Formats: All drawings are prepared in the specific formats required by the USPTO, ensuring they are ready to be included in a patent application without further modification. This service saves inventors and attorneys valuable time and prevents potential delays.
Features / Highlights
What makes 1patentdrawings.com a preferred choice for patent illustration needs? Several features set them apart in the industry. These highlights demonstrate their commitment to quality, client service, and professional standards.
- Specialization: Their sole focus on patent drawings allows them to achieve a level of expertise and efficiency that is unmatched by more generalist firms.
- USPTO Compliance: The firm has a deep understanding of the specific rules and regulations of the United States Patent and Trademark Office, ensuring that all drawings are fully compliant and ready for submission.
- Professional Quality: The drawings produced are of the highest professional quality, using clear lines, proper shading, and accurate numbering to present the invention in the best possible light.
- Efficiency and Timeliness: They are known for their ability to deliver high-quality drawings on a quick turnaround, which is essential for meeting tight patent application deadlines.
- Location: Being based in Los Angeles gives them a strong local presence and makes them a convenient resource for the thriving community of inventors and patent attorneys in California.
Contact Information
For inquiries about professional patent drawing services or to discuss your specific needs, you can contact 1patentdrawings.com. They can provide an initial consultation to review your project and provide a quote for their services.
Address: 5101 Santa Monica Blvd Ste 8 PMB1337, Los Angeles, CA 90029, USA
Phone: (385) 384-0977
---What is Worth Choosing 1patentdrawings.com
The patent process is often a long and challenging road, with numerous requirements and potential pitfalls. Choosing a reliable partner for your patent drawings is one of the most important decisions you can make to ensure a smooth application process. 1patentdrawings.com is worth choosing for several compelling reasons, all of which boil down to their specialized expertise and commitment to quality. The most important aspect is their deep knowledge of USPTO requirements. A seemingly small error in a drawing—such as incorrect shading, improper views, or a lack of clarity—can result in an office action, a formal communication from the patent examiner highlighting issues that need to be addressed. These office actions can cause significant delays and added costs. By using a specialist like 1patentdrawings.com, you are proactively mitigating this risk, ensuring your drawings are done right the first time.
Furthermore, the firm’s ability to work from a variety of source materials is a huge advantage. Inventors often have their ideas in various forms, from rough sketches on a napkin to complex CAD models. 1patentdrawings.com has the technical skill to take these raw ideas and transform them into the precise, polished drawings required for a patent. This flexibility makes them an ideal partner for inventors at any stage of the development process.
While 1patentdrawings.com may not be a law firm in the traditional sense, their service is a critical component of legal strategy in intellectual property. An attorney can write a perfect patent application, but if the drawings are flawed, the application as a whole can fail. By choosing 1patentdrawings.com, inventors and attorneys are ensuring that the visual component of the application is just as strong as the legal text. This synergy between expert legal advice and professional illustration is what ultimately leads to a successful patent application.
In a competitive landscape where intellectual property is a valuable asset, every detail matters. The professional, accurate, and compliant drawings provided by 1patentdrawings.com are an investment in the future of your invention. They help to clearly define your claims, protect your rights, and move your application forward efficiently. For any inventor or attorney in California seeking to secure a patent, the specialized services of 1patentdrawings.com are not just a convenience; they are a necessity for a successful outcome.
1patnentdrawings.com Photos










1patnentdrawings.com Location
1patnentdrawings.com
5101 Santa Monica Blvd Ste 8 PMB1337, Los Angeles, CA 90029, USA
1patnentdrawings.com Reviews
More law offices near me
Bismark Tax, Inc.4.0 (26 reviews)1370 N St Andrews Pl, Los Angeles, CA 90028, USA
Law Office of Jessica Chan5.0 (31 reviews)1370 N St Andrews Pl, Los Angeles, CA 90028, USA
Downtown La Law Group4.0 (216 reviews)601 N Vermont Ave, Los Angeles, CA 90004, USA
Sarno Robert3.0 (3 reviews)1710 N Vermont Ave # 103, Los Angeles, CA 90027, USA
Harmony Family Law Mediation Group4.0 (17 reviews)1670 Hillhurst Ave #204, Los Angeles, CA 90027, USA
Heyck Theodore D5.0 (4 reviews)2106 E Live Oak Dr, Los Angeles, CA 90068, USA
Shoumer Law - Los Angeles Landlord Attorney4.0 (9 reviews)240 Virgil Ave #16a, Los Angeles, CA 90004, USA
Frish Law Group, APLC5.0 (3 reviews)5827 Franklin Ave, Los Angeles, CA 90028, USA
The Law Office Of Damian Siwek5.0 (80 reviews)606 N Larchmont Blvd, Los Angeles, CA 90004, USA
Law Offices Of Frank T. Stanley5.0 (1 reviews)101 S Virgil Ave, Los Angeles, CA 90004, USA
Kraut Law Group Criminal & DUI Lawyers4.0 (285 reviews)6255 W Sunset Blvd Suite 1520, Los Angeles, CA 90028, USA
Los Angeles Criminal Attorney4.0 (105 reviews)516 N Larchmont Blvd #1, Los Angeles, CA 90004, USA
Categories
Top Visited Sites
Attorney General Office4.0 (1 reviews)
Albury Law Group4.0 (35 reviews)
Joseph Gachko, Esq.4.0 (15 reviews)
Mudd Law4.0 (33 reviews)
Law Office of Vincent J. Sanzone, Jr.4.0 (62 reviews)
Oath - Milwaukee Estate Planning & Investment Attorneys4.0 (12 reviews)Top law offices Searches
Trending Law Made Simple Posts
How to Expunge a Criminal Record – Expert Legal Advice for 2025
Understanding Child Custody Laws – Expert Legal Advice on Custody Arrangements
How to Expunge a Criminal Record: What You Need to Know in 2024
How to Expunge a Criminal Record – A Complete Guide
Your Rights During a Police Stop in 2024: A Comprehensive Guide
How to Contest a Traffic Ticket and Win
